Top.Mail.Ru
Уведомления
Очистить все

Помощь в выборе МКК

Страница 2 / 2
(@polina)
Level 1

@eduard Спасибо, попробую разобраться в написанном и завтра выяснить у преподавателя все тонкости выполнения курсовой работы


ОтветитьЦитата
Создатель темы Размещено : 23.09.2025 19:27
(@polina)
Level 1

@eduard кое-какие разъяснения я получила.

По поводу пункта 1, да, он имеет в вижу отрицательное напряжение, которое я буду преобразовывать в понятное для МКК (от 0 до 3.2), выходит, что буду измерять меандр (любым способом).

Вот по поводу взаимодействий периферии стало в разы понятней. Сначала, мы ждём от пользователя ввода с клавиатуры порядок опроса каналов (к примеру, 2-3-5-4-6-1-7-8 ) и канал, который будет выводится на 7-сегментный (я не спросила, как его подключать, у меня в лабораторках уже было его подключение + код работы с ним).

Затем МКК выполняет измерения, по окончании которых загорается красный светодиод. На схему мы добавляем кнопку, если пользователь её нажимает, то данные передаются по интерфейсу RS-232. 

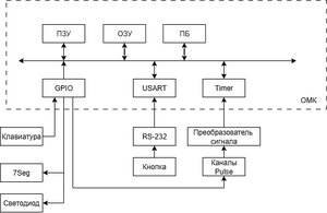
Я показала преподавателю свою первоначальную структурную схему, мне её поправили и вроде как получилось вот такая организация.

Струк схема 5.drawio

 


ОтветитьЦитата
Создатель темы Размещено : 24.09.2025 23:59
(@eduard)
Level 5 Moderator

@polina Вы так и не ответили на все вопросы. Я так и не понял что и как меряется.

Судя по структурной схеме, которую поправил преподаватель, знаний у него ниже плинтуса и при этом он преподаёт. Это не Бауманка? А то там такой преподаватель засел.

И я теряюсь в догадках, что такое МКК?


ОтветитьЦитата
Размещено : 25.09.2025 06:18
(@polina)
Level 1

@eduard мы так сокращаем микроконтроллер (МКК). Нет, это не Бауманка, не хочу прям тут писать учебное заведение, мало ли что. Что знаний у него мало, мы поняли на лекциях в прошлом семестре, когда на вопрос "А сколько у данного контроллера портов входа/выхода" получили ответ "Ну я не помню так сразу, это нужно в даташите смотреть". При этом на лекциях было рассмотрено всего 2 контроллера, на лабораторках работали с другим, который изучали самостоятельно.

Да в целом лекции не особо помогли, их разве что на экзамене спросили и то, когда билеты готовили бОльшую часть информации брали с Интернета/Нейронок (когда в Интернете ответ не находили, а написать нужно хоть что-то)/Даташита и лекций предыдущего преподавателя.

Ну, я примерно понимаю, что и как мерить нужно будет. Спасибо большое за ответы, они направили мои мысли в нужное русло. Через пару месяцев (может и раньше, пока не знаю, сколько времени всё займёт) скину, что получится или не получится и вернусь с вопросами 


ОтветитьЦитата
Создатель темы Размещено : 25.09.2025 14:07
(@eduard)
Level 5 Moderator

Запись от: @polina

скину, что получится или не получится и вернусь с вопросами 

Будет поздно спрашивать.


ОтветитьЦитата
Размещено : 25.09.2025 18:37
(@polina)
Level 1

@eduard не сказал бы, у нас раз в 2 недели показ работы и там кровь из носа нужно будет что-то показать. так что у меня есть практически 2 недели, чтобы нарисовать алгоритмы, скорее всего на этапе их составления и появятся вопросы


ОтветитьЦитата
Создатель темы Размещено : 25.09.2025 20:51
(@polina)
Level 1

@eduard Сейчас подготовила схемы основных алгоритмов. Начала писать пункт 3 "Выбор элементарной базы", если всё пойдёт по плану - постараюсь к среде сделать схему (я пока в это сама не верю) 


ОтветитьЦитата
Создатель темы Размещено : 02.10.2025 22:38
(@eduard)
Level 5 Moderator

Запись от: @polina

Начала писать пункт 3 "Выбор элементарной базы",

Извините, не удержусь никак. Но элементарная база для МКК не подходит, нужно что то посложнее 😀 

Сегодня на работе гляну.


ОтветитьЦитата
Размещено : 03.10.2025 06:07
(@polina)
Level 1

@eduard а у нас такое в шаблоне название, сказали его заполнять - мы и заполняем. да и примеры курсачей прошлых лет тоже с этим пунктом


ОтветитьЦитата
Создатель темы Размещено : 03.10.2025 12:50
(@eduard)
Level 5 Moderator

@polina Нужно не следовать шаблонам, а попросить объяснить почему шаблон с ошибками. И писать правильно. Невзирая на лица.

В одном учебном заведении безграмотный препод. Пишет по своему. В других так же. Потом выпускники из разных институтов встретятся вместе и будет разговор немых с глухими.

Алгоритм я посмотрел. Несуразностей много. Тема сисег не раскрыта.


ОтветитьЦитата
Размещено : 03.10.2025 19:18
(@polina)
Level 1

@eduard Про шаблоны я понимаю, но придумать что-то своё и выяснять, почему нас так обучают - нет ни времени, ни желания. В дальнейшем с микроконтроллерами связываться не планирую  

Алгоритмы завтра посмотрю ещё раз и постараюсь найти ошибки 


ОтветитьЦитата
Создатель темы Размещено : 03.10.2025 23:05
Страница 2 / 2
Поделиться: